Cookies help us deliver our services. By using our services, you agree to our use of cookies.
- Home /
- Facade cladding /
- Thermowood cladding /
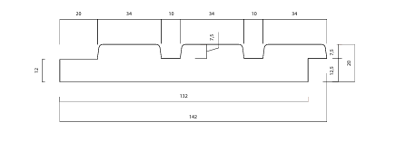
- Thermowood Triple Ayous 4200x142x20 (nuttig 132mm)
GRATIS Dampscherm bij aankoop van 100m² KNAUF Multifit Glaswol!
